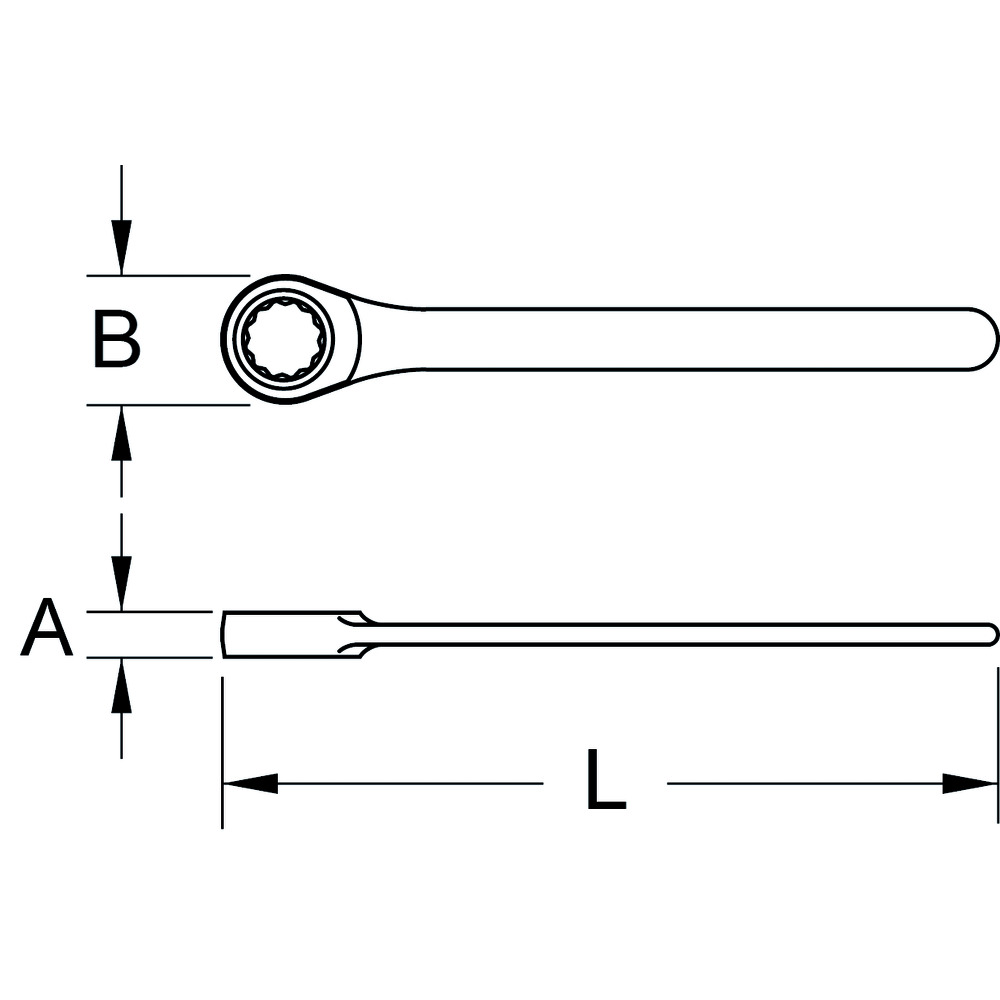
Ráčnový očkový klíč, dvojitá izolace, 1000 V

  • profil typu flank traction
  • podle DIN 7446
  • izolace nanášená ponorem podle DIN 60900
  • rovný tvar
  • přesné ozubení se 72 zuby
  • chrom - vanad


  Prebieha spracovanie ...
No.
Názov
Počet × PU = množstvo Balenie
Dokumenty pre Ráčnový očkový klíč, dvojitá izolace, 1000 V