Plastový otočný uzáver

Č. artiklu 3040 1002 a 3040 1020:
  • Protikus: Č. artiklu 3040 1001

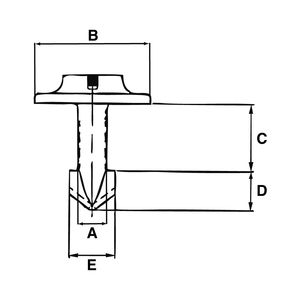
(Ø A × C mm)

  Prebieha spracovanie ...
No.
Názov
Počet × PU = množstvo Balenie
Dokumenty pre Plastový otočný uzáver
(Ø A × C mm)