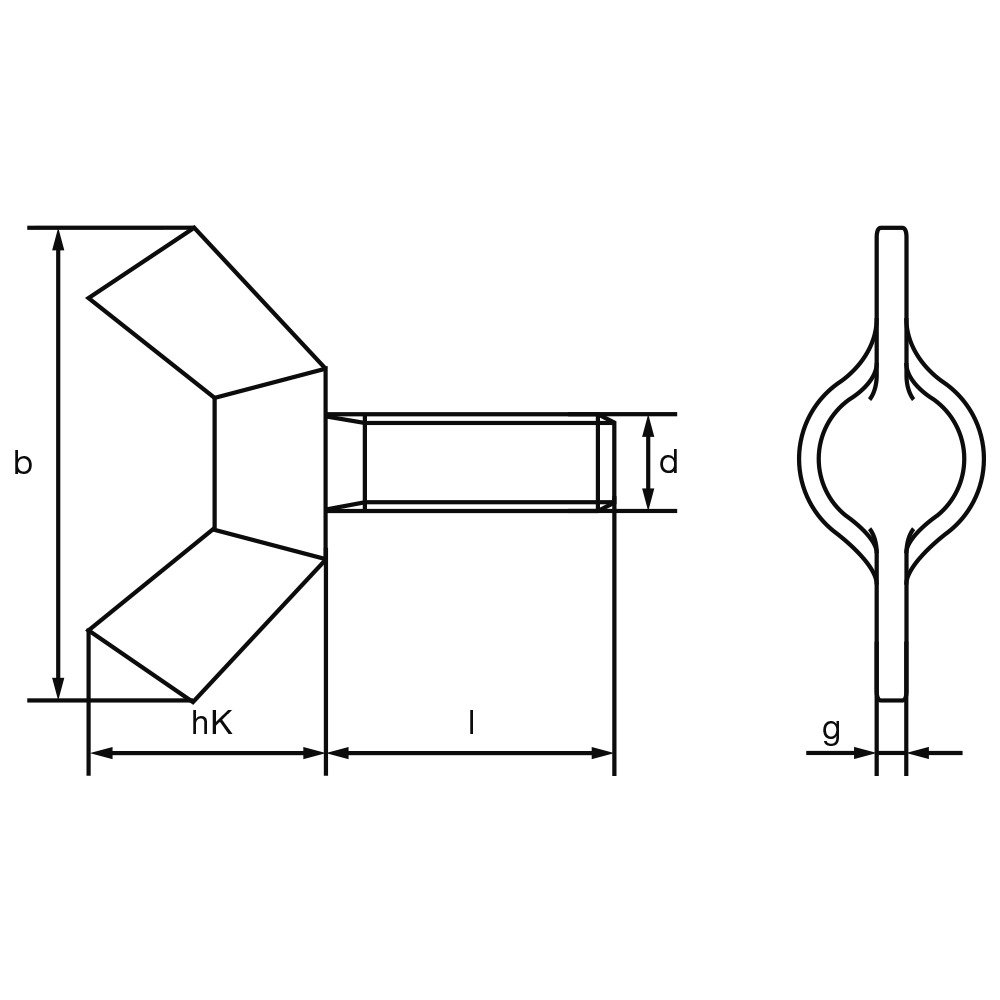
Krídlové skrutky amer. tvar, DIN 316, ušľ. ocel A4

  Prebieha spracovanie ...
No.
Názov
Počet × PU = množstvo Balenie
Dokumenty pre Krídlové skrutky amer. tvar, DIN 316, ušľ. ocel A4