Frézy z tvrdokovu Radius

  • frézy k vytváření zaoblených hran u tvrdých a tuhých materiálů jako ocel, ušlechtilá ocel, litina, titan, bronz, měď, mosaz atd.
  • přihlášený patent
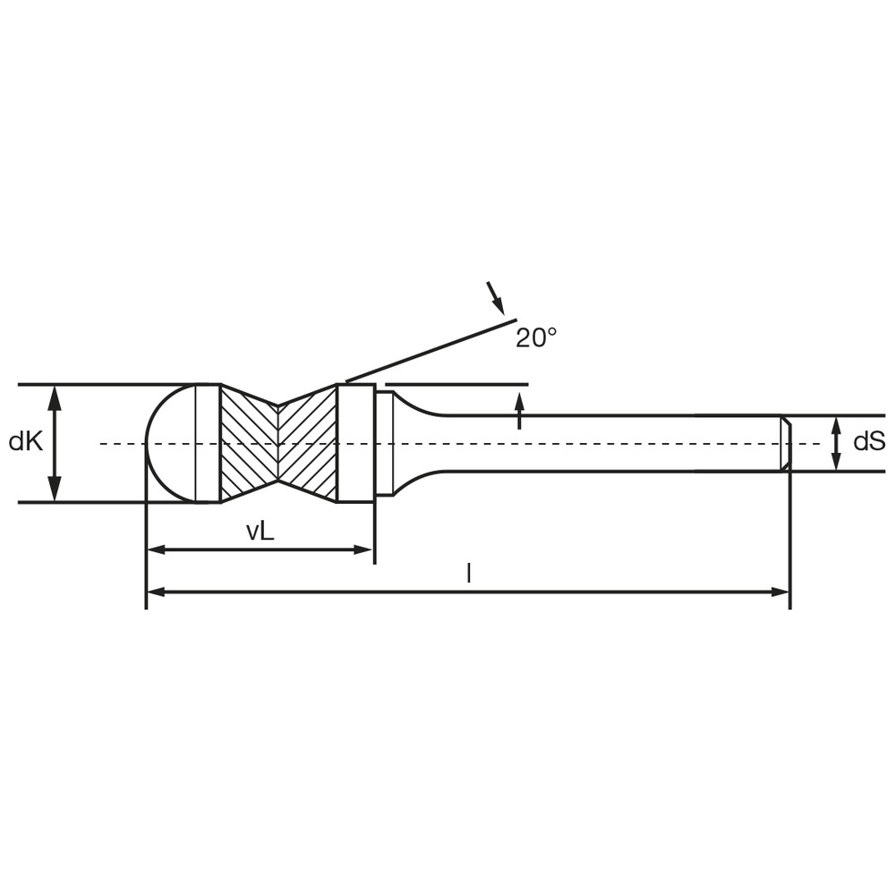
  • překrývající se standardní ozubení ve středu frézy s úhlem 20°
  • rychlá a snadná práce díky jedinečné vodicí geometrii, která frézu vystřeďuje při práci
  • inovativní tvar frézy umožňuje vyšší výkon při třískovém obrábění a prodlužuje životnost
  • díky hladkému čelu frézy se zamezuje poškozením na povrchu obrobku
  • pro použití v tyčových bruskách
  • dle DIN 8032 / 8033

(SO = standardní ozubení)

  Prebieha spracovanie ...
No.
Názov
Počet × PU = množstvo Balenie
Dokumenty pre Frézy z tvrdokovu Radius
(SO = standardní ozubení)